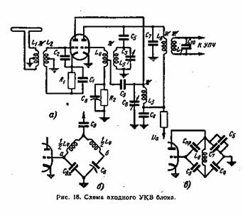
Высокочастотная часть для приема УКВ радиостанций выполняется в виде отдельного
блока и включает в себя усилитель высокой частоты и преобразователь, выполненные
на одной лампе — двойном триоде типа 6Н3П. Одна из возможных схем такого блока
приведена на рис. 18,а.
Антенна —
внутренний или наружный диполь — подключается к катушке связи
L1 средняя точка которой заземлена.
Входной контур
содержит катушку L2, которая с помощью конденсатора С2
и сердечника настраивается на среднюю частоту диапазона и в дальнейшем при
приеме радиостанций не перестраивается. От части витков катушки
L2 также сделан отвод, который заземляется.
Такую схему
включения контура называют «схемой с заземленной промежуточной точкой» и
применяют только на УКВ, где она позволяет получить хорошие результаты с триодом
в качестве усилительной лампы.
В анодную цепь
первого (левого) триода включен контур L3C4C8,
который с помощью конденсатора переменной емкости C8
настраивают на частоту принимаемой радиостанции. Напряжение с этого
контура через конденсатор Сд и половину катушки L4
поступает на сетку второго триода, выполняющего роль преобразователя частоты.

Второй
(правый) триод работает одновременно смесителем и гетеродином.. Контур
гетеродина L5C3 подключен к
анодной цепи триода через конденсатор C8; обратная
связь — индуктивная. Она осуществляется с помощью катушки L4
включенной в цепь сетки того же триода. Таким образом, к сетке второго триода
одновременно подводятся колебания двух частот — принимаемой радиостанции и
гетеродина. Благодаря наличию в цепи сетки нагрузки R2Св
лампа работает на нелинейном участке характеристики. В результате в анодной цепи
появляются колебания промежуточной частоты, выделяемые с помощью двухконтурного
фильтра промежуточной частоты L6С5C7C10.
Промежуточная частота для УКВ ЧМ тракта выбрана равной 8,4 Мгц.
Выше были
рассмотрены только основные элементы схемы, которые необходимы для осуществления
усиления высокой частоты и преобразования. Но для устойчивой работы схемы,
наибольшего усиления и уменьшения излучения колебаний гетеродина через антенну в
УКВ блок вводят еще некоторые вспомогательные элементы, образующие мостовые
схемы, которые помогают решить все эти задачи.
Первый,
индуктивно-емкостный мост (рис. 18,6)) предназначен для устранения связи между
анодным контуром УВЧ и контуром гетеродина, которые включены в различные
диагонали сбалансированного моста. В этом случае, как известно, наличие
напряжения в одной из диагоналей не вызывает тока в другой диагонали.
Следовательно, контуры гетеродина и УВЧ развязаны между собой, а это в свою
очередь устраняет влияние одного контура на настройку другого. Одновременно
резко снижается просачивание напряжения гетеродина в цепь антенны. Балансировка
моста осуществляется изменением емкости конденсатора C6
при регулировке блока.
Второй, чисто
емкостный мост (рис. 18,б) служит для компенсации отрицательной обратной связи
по промежуточной частоте, возникающей через проходную емкость
триода-преобразователя частоты.
В подобных
схемах с целью получения большего усиления, а следовательно, и увеличения
чувствительности применяется так называемая перекомпенсация моста. При этом
положительная обратная связь, необходимая для компенсации отрицательной обратной
связи, выбирается несколько большей, чем это нужно для балансировки моста.
Осуществляется перекомпенсация уменьшением емкости конденсатора С4.
А.Е.Левитин. "Справочник
по радиовещательным приемникам". 1960 год