Одноламповый усилитель низкой
частоты
Большая крутизна лампы 6П9
позволяет получить полезную мощность 1...1,5 Вт и более, при входном
напряжении 1,3 В.
Такое напряжение развивает пьезоэлектрический
звукосниматель. Нелинейные искажения 6%. Вход усилителя рассчитан на
присоединение выхода трансляционной линии, транзисторного приемника и других
источников НЧ напряжения.

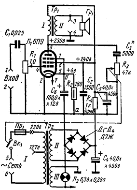
Рис.1. Принципиальная
схема усилителя НЧ
R1 - регулятор громкости типа "В" для плавности
регулировки уровня. Использовано автоматическое смещение на управляющей
сетке лампы. Эта схема обладает ценным свойством. Она автоматически
стабилизирует работу каскада, уменьшая влияние изменения параметров лампы (в
течении ее срока службы) на режим работы усилителя. В анодную цепь лампы
включена первичная обмотка 1 выходного трансформатора Тр1. Вторичная обмотка
трансформатора может быть нагружена двумя динамическими громкоговорителями
типа 1ГД-6.
Наличие этого трансформатора необходимо для согласования
низкого сопротивления громкоговорителя с внутренним сопротивлением лампы.
Цепочка R3C3 позволяет регулировать тембр звучания.
Подобная схема коррекции обеспечивает относительный подъем частотной
характеристики в области низких частот за счет уменьшения усиления в
высокочастотной части спектра НЧ. Чем меньше R3, тем меньше усиление в
области ВЧ, при этом усиление в области низких частот остается неизменным.
Усилитель монтируется на шасси размерами 120x140x40 мм,
которое изготавливается из алюминия толщиной 1,5 мм. Силовой трансформатор
выполнен на сердечнике Ш-19, сечением 7,6 см. Сетевая обмотка I содержит
694+506 витков провода ПЭЛ 0,33; повышающая II - 1800 витков ПЭЛ 0,15;
обмотка накала III- 38 витков ПЭЛ 0,8.
Выходной трансформатор имеет сердечник из пластин Ш-20,
сечением 4 см2. Первичная обмотка содержит 4000 витков провода ПЭЛ 0,12,
вторичная - 80 витков ПЭЛ 0,8.
Лаборатория ЦРК ДОСААФ.
1970 год
|
| |
|
Радиолампы, использованные в статье:
- 6П9
|
Комментарии к статьям на сайте временно отключены по причине огромного количества спама.