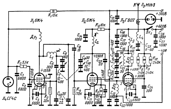
Передатчик состоит из задающего генератора, удвоителя
частоты и усилителя мощности. Задающий генератор (ЗГ) собран на лампе Л1
(6Ж4) по схеме "Тесла". Его
колебательный контур образован конденсаторами С28, С6, С7, С5, С4 и
катушкой индуктивности L1. Конденсатор С7 предназначен для перестройки
контура по диапазону, а конденсаторы С28, С5, С4, С6 - для растяжки.
Анодное и экранное напряжение задающего генератора стабилизированы
стабилитроном Л4 (СГ4С). ЗГ перекрывает частоты 14,1...14,85 МГц.

Рис.6. Принципиальная
схема передатчика
Сигнал с ЗГ подается на управляющую сетку лампы Л2 (6Ж4)
удвоителя. Анодной нагрузкой удвоителя является контур, образованный
индуктивностью катушки L2 и емкостью конденсаторов С10, С9. Контур удвоителя
перекрывает частоты 28,2...29,7 МГц. Затем сигнал поступает на усилитель
мощности, выполненный на лампе Л3 (Г-807). Анодной нагрузкой оконечного каскада
является резонансный контур, образованный индуктивностью катушки L3 и емкостью
конденсаторов С18, С19, С20, С21.
Связь с антенной - индуктивная, она осуществляется при помощи
катушки индуктивности L4. Конденсатор С25 позволяет подбирать связь оконечного
каскада с антенно-фидерным устройством. Катушка индуктивности L4 располагается
вблизи верхнего (по схеме) вывода L3.
Напряжение 600 В, подводимое к оконечному каскаду от
усилителя ТУ-50М, промодулировано однотактным модулятором, которым служит
усилитель ТУ-50М с выключенной лампой 85. Модуляционная обмотка в этом случае
включена по автотрансформаторной схеме. Отключение одной из ламп оконечного
каскада усилителя во время его работы как модулятора и блока питания необходимо
для того, чтобы не увеличивать нагрузку силового трансформатора.
Чтобы не создавать помехи в эфире во время настройки на
частоту корреспондента, предусмотрено отключение анодного напряжения лампы Л3
при помощи выключателя Вк1.
Конструкция и детали
Передатчик смонтирован на шасси из дюралюминия толщиной 2 мм.
Размеры шасси - 175х180х45 мм (рис.7а, 7б),
лицевой панели - 175х190 мм (рис.7в).

Рис.7а. Шасси
передатчика (вид снизу)
В подвале шасси установлены лампы Л1 и Л2. Их ламповые
панельки укреплены при помощи уголков, изготовленных из дюралюминия толщиной 2
мм.

Рис.7б. Шасси
передатчика (вид сверху)
Сверху шасси установлены конденсаторы С17, С10, С19, С20,
лампы Л3 и Л4, катушки индуктивности L3, L4, конденсаторы С25, С18, С21,
дроссель Др3. Оконечный каскад отделен от предыдущих экраном, на котором
укреплены катушки индуктивности L3, L4 и монтажная планка. Лампа Л3 помещена в
экран высотой 50 мм, изготовленной из жести или латуни толщиной 0,5 мм.
Рис.7в. Лицевая панель
передатчика
На лицевой панели установлены выключатель Вк1, разъем,
антенное гнездо, индикаторная лампочка МН-3.
-
Конденсаторы С10, С7, С19, С20 - от магниторадиолы
"Харьков". Конденсаторы С19,
С20 при установке изолируются от шасси при помощи полосок органического
стекла.
-
Катушки L1, L2 намотаны на ребристых каркасах от
приемника "Балтика".
-
Катушки L3 и L4 - на крестовине, изготовленной из двух
пластин органического стекла размером 30х69 мм. Для прочности крестовина
склеена дихлорэтаном. Намотка выполнена принудительным способом и состоит из
5 витков провода ПЭЛ 1,0 на длине 14 мм. Длина намотки L4 - 8 мм, число
витков - 2...3 (того же провода). Расстояние между катушками L3 и L4 - 3 мм.
-
Дроссель Др3 намотан на резисторе ВС 100 Ом мощностью 1
Вт проводом ПЭЛ 0,8 и имеет 6 витков.
-
В качестве дросселя Др1 можно использовать катушку ДВ или
СВ диапазона от любого радиоприемника.
-
Дроссель Др2 намотан проводом ПЭВ-2 0,25 мм на каркасе
диаметром 18 мм и имеет 150 витков (намотка виток к витку).
-
При монтаже использованы резисторы МЛТ, ВС и конденсаторы
КСО, КТ, КД.
-
Конденсаторы С5, С4, С6 - серого или голубого цвета.
-
Конденсаторы, стоящие в цепи анодного напряжения 600 В
(С16, С17, С26, С27), должны иметь рабочее напряжение не менее 1000 В
каждый, последовательно включенные конденсаторы - 500 В.
-
Конденсатор С25 - типа КПК-3.
Настройка передатчика
Настройку передатчика начинают с проверки напряжений на
лампах, а затем приступают к настройке задающего генератора. Наличие колебаний
можно проверить при помощи неоновой лампы. Частоту ЗГ определяют при помощи
базового приемника. При этом надо следить, чтобы не принять за основную частоту
гармонику. Во избежание ошибки необходимо установить минимальную связь ЗГ с
приемником.
Удвоитель настраивают с помощью сердечника катушки L2 по
свечению неоновой лампы, поднесенной к контуру. Оконечный каскад усилителя
мощности настраивают по спаду анодного тока и свечению неоновой лампы,
установленой на лицевой панели. Связь с антенной лучше всего подбирать по
простому индикатору напряженности поля (рис.8в).
Индикатор устанавливают на расстоянии 5...12 м от антенны.
Комментарии к статьям на сайте временно отключены по причине огромного количества спама.