Превышение допустимого уровня
НЧ сигнала SSB передатчика приводит к появлению искажений и помех в
виде "хвостов" - splatter.
Правильно установить и контролировать уровень НЧ сигнала
можно путем измерения анодного тока выходного каскада, однако сделать это с
помощью стрелочного прибора практически невозможно из-за резких колебаний тока
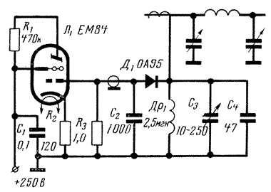
при передачи речи. На рисунке показана схема, применяемая
ZL2CE для контроля уровня SSB сигнала.

Часть энергии ВЧ отбирается от выходного контура через
конденсатор, образованный двумя витками провода, намотанными на высокочастотную
шину выходного каскада передатчика, выпрямляется диодом Д1 и подается на сетку
электронно-оптического индикатора Л1 (EM84). Конденсатор С3 включен в плечо
делителя ВЧ напряжения.
Настройка индикатора производится следующим образом. На
модулятор передатчика подают испытательный сигнал НЧ. Устанавливают емкость
конденсатора С3 такой, чтобы теневой сектор Л1 полностью закрылся. Далее
регулируют усиление усилителя НЧ так, чтобы при самых громких звуках,
произносимых перед микрофоном, теневой сектор не перекрывался.
Установку емкости С3 можно произвести и другим способом.
Контролируют качество SSB сигнала, постепенно увеличивая
напряжение НЧ и регулируя емкость С3. Теневой сектор Л1 должен быть полностью
закрыт при максимальном напряжении НЧ, которое еще не вызывает появления
"хвостов".
Вместо лампы ЕМ84 (Л1) можно применить лампу 6Е1П, а в
качестве Д1 - диод Д9Ж.
Комментарии к статьям на сайте временно отключены по причине огромного количества спама.