Был тут в гостях у друга, посмотрел его технику. Очень поразили индмкаторы ИН-13. Потрясающей красоты индикатор уровня. Если кому нужно, выкладываю схемку, что нарыл. От магнитофона Электроника - 003. Кстати, качество магнитной записи оставило глубокое впечатдение. Магнитофон, конечно, реставрированный.
Вот так это выглядит. Правда, фотка не моя. Я только видео на мобильник снял.
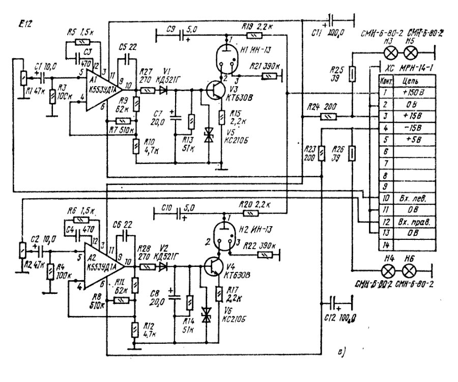
А вон схема.
Надеюсь, кому то понадобиться.

